Аргентометрия

Аргентометрия — титриметрический метод количественного анализа анионов, образующих малорастворимые соединения или устойчивые комплексы с катионами серебра[1]. Методы аргентометрии, главным образом, применяют для определения галогенидов, например, хлорида[2]:

Методы аргентометрии

Существует несколько различных методов аргентометрии, отличающиеся используемыми индикаторами (или их отсутствием) в процессе анализа[2]:

  • метод равного помутнения (без индикатора);
  • метод Мора (индикатор — хромат калия);
  • метод Фольгарда (индикатор — тиоцианатные комплексы железа (III));
  • метод Фаянса (адсорбционные индикаторы).

Наиболее широко в промышленности используется метод Фольгарда, с помощью которого проводят анализ на содержание галогенидов, арсенатов, оксалатов и других анионов, образующих малорастворимые соединения с катионами серебра, в кислой среде. Метод Мора применяется менее часто, анализируя вещества только в нейтральной среде[2][3].

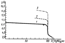
Кривые титрования

Кривые аргентометрического титрования: 1 — NaCl; 2 — NaBr; 3 —- NaI

Кривые титрования строятся в координатах р Ag — V, где р Ag — логарифм концентрации катионов серебра, взятый с обратным знаком, а V — это объем титранта. В качестве рабочего раствора, как правило, выступают нитрат серебра(I), тиоцианат калия и раствор хлорида натрия.

Примечания

  1. Кнунянц И.Л. Химическая энциклопедия. М.: Советская энциклопедия, 1988. — Т. 1. — С. 193. — 623 с.
  2. 1 2 3 Васильев В.П. Аналитическая химия. М.: Высшая школа, 1989. — Т. 1. — С. 256—260. — 320 с. — ISBN 5-06-000066-4.
  3. Шапиро С.А., Шапиро М.А. Аналитическая химия. М.: Высшая школа, 1979. — С. 315—321. — 384 с.

Литература

  • Пискарева С.К. и др. Аналитическая химия. М.: Высшая школа, 1994. — С. 324—325. — 384 с. — ISBN 5-06-002179-3.
  • Блументаль Г. и др. Анорганикум. М.: Мир, 1984. — Т. 2. — С. 208—222. — 632 с.