Группа безопасности котла (сантехника)

Группа безопасности котла — набор предохранительных элементов предназначенных для защиты систем отопления от превышения максимально допустимого рабочего давления и отвода воздуха из них.
Конструкция и применяемые материалы
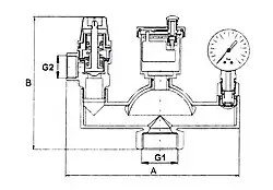
В состав группы безопасности входит предохранительный клапан, автоматический воздухоотводчик и манометр, смонтированные на общем основании — консоли. Консоль, корпуса предохранительного клапана и воздухоотводчика, присоединительный штуцер манометра изготовлены методом горячей ковки и токарной обработки из латуни CW614N (по Европейскому стандарту EN 12165), соответствующего марке ЛС58-3 (по ГОСТ 15527). Поворотная крышка предохранительного клапана сделана из термостойкого нейлона.
Материал корпуса манометра — пластик ABS, шкала из алюминия закрыта акриловым стеклом.

Указания по монтажу
Группа безопасности устанавливается вертикально в любой точке системы отопления выше котла, но желательно в месте с минимально возможной температурой. На участке трубопровода от котла до группы безопасности не допускается установка запорной арматуры, фильтров и других элементов, которые могут уменьшить его проходное сечение.
Сливной шланг должен соответствовать диаметру выходного отверстия предохранительного клапана и проложен таким образом, чтобы не создавать препятствий для сброса горячей жидкости или пара, а также чтобы не подвергать опасности людей.
В качестве уплотнителя для резьбовых соединений следует применить ленту ФУМ (PTFE — политетрафторэтилен), полиамидную нить с силиконом, лён вместе со специальными пастами, а также другие уплотнительные материалы, обеспечивающие герметичность соединений при проектной температуре и давлении теплоносителя и согласованные в установленном порядке.
После монтажа группа безопасности должна быть испытана на герметичность. Её необходимо подвергнуть испытанию гидростатическим (гидравлическим) методом в соответствии с ГОСТ 25136 и ГОСТ 24054.
Эксплуатация и техническое обслуживание
Для приведения группы безопасности в рабочий режим необходимо приоткрыть (не снимая) колпачок автоматического воздухоотводчика, расположенный на его крышке. Во время эксплуатации следует периодически (не реже одного раза в год) проверять работоспособность предохранительного клапана. В клапане, не срабатывавшем длительное время, могут образоваться загрязнения между седлом и тарелкой, приводящие к протечкам и, как следствие, потере давления в отопительной системе. Для предотвращения этого клапан необходимо периодически промывать, проворачивая его поворотную крышку по указанию стрелки.
Группа безопасности может применяться в системах, использующих специально разработанный для них теплоноситель с содержанием этиленгликоля не более 50 %.
Литература
- А. Савельев. Сантехника в доме. Монтажные работы М. 2008.
- М. Жакло, Д. Федулло, Т. Галлозье. Энциклопедия сантехника. Практическое руководство М.: Омега, 2007.
- Ремонт сантехники и электрооборудования в вашем доме. М.: Книжный клуб «Клуб семейного досуга», 2008.