Муфта с тороподобной оболочкой

Муфта с тороподобной оболочкой — упругая муфта постоянного соединения, ведущий и ведомый диски которой смонтированы на концах соединяемых валов; диски связаны с помощью резиновой оболочки с тороидальным профилем[1].
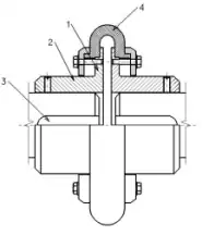
Полумуфты ведущая и ведомая (1) в виде дисков, которые установлены своими ступицами (2) на концах валов с использованием шпоночного соединения (3). Упругий элемент (4) муфты, имеющий форму тороидальной оболочки, установлен и закреплён по периметру дисков винтами и дополнительными кольцами. Оболочку изготовляют из резины, армированной металлокордом. При нагружении муфты упругий элемент работает на кручение. Такая конструкция придаёт муфте большую энергоёмкость и значительные компенсационные возможности (радиальное смещение валов Δr ≈ 2...6 мм, угловое смещение валов Δα ≈ 2...6°, угол закручивания до 5...30°).
Исследования показывают, что нагрузочная способность муфты ограничивается потерей гибкости и усталостью резиновой оболочки. В первом приближении рекомендуется провести расчёт прочности оболочки по напряжению сдвига в сечении возле зажима (по D1):
де M — крутящий момент, передаваемый муфтой;
- K — динамический коэффициент нагрузки;
- δ — толщина резиновой оболочки.
По экспериментальным данным, [τ] ≈ 0,4 МПа.
Диаметральные габаритные размеры таких муфт больше, чем упругих муфт других типов. Муфты с упругой оболочкой стандартизированы [2] для валов с диаметром dв = 14...200 мм и крутящих моментов M = 20...25000 Η•м, КПД муфты η ≈ 0,98.
Примечания
См. также
Литература
- Поляков В. С., Барбаш И. Д., Ряховский О. А. Справочник по муфтам. — Л.: Машиностроение (Ленингр. отд-ние), 1974. — 352 с.
- Анурьев В. И. Справочник конструктора-машиностроителя : в 3 т. / под ред. И. Н. Жестковой. — 8-е изд., перераб. и доп. — М. : Машиностроение, 2001. — Т. 2. — 912 с. — ББК 34.42я2. — УДК 621.001.66 (035). — ISBN 5-217-02964-1.