ПАГ-17
| Прицел автоматического гранатомёта ПАГ-17 | |
|---|---|
| |
| Тип | Оптический прицел |
| Страна |
|
| История службы | |
| На вооружении |
|
| История производства | |
| Разработан | 1963 год |
| Производитель | Новосибирский приборостроительный завод |
| Годы производства | 1971 — наше время |
| Характеристики | |
| Масса, кг |
1,0 (прицел) 3,5 (масса комплекта)[1]. |
| Длина, мм | 124 |
| Ширина, мм | 106 |
| Высота, мм | 145 |
Прицел автоматического гранатомёта (ПАГ-17) — оптический прицел, который служит для наводки гранатомёта АГС-17 при стрельбе по целям на различные расстояния.
Назначение прицела

Прицел ПАГ-17 предназначен для наведения автоматического гранатомёта при стрельбе как прямой наводкой, так и с закрытых позиций. Для этого прицел снабжен угломерным механизмом и механизмом углов возвышения для наводки в горизонтальной и вертикальной плоскостях. Имеется два уровня для контроля крена и угла возвышения гранатомёта. Прицел так же снабжён подсветкой прицельной сетки и шкал механизмов наведения для прицеливания в темное время суток[2].
Характеристики прицела[3]
- Видимое увеличение — 2,5 крат;
- Угловое поле зрения — 12°;
- Диаметр выходного зрачка — 4,5 мм;
- Удаление выходного зрачка — 27 мм;
- Предел разрешения — 28 угл./сек.;
- Масса комплекта прицела — 3,5 кг;
- Прицельная дальность — 1730 метров.
Устройство изделия

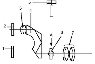
1 - светофильтр; 2 - светофильтр; 3 - объектив; 4 - призма ВКЛ-0°; 5 - защитное стекло; 6 - сетка; 7 - окуляр.
Прицел состоит из корпуса, в котором собраны угломер и механизм углов возвышения и головки с оптической системы. Корпус служит для соединения всех частей прицела. Он имеет ось прицела с овальной выемкой и штифтом для присоединения прицела к гранатомёту; планку для крепления патронов подсветки шкал и уровней.
В верхней части корпуса собран угломер, который служит для горизонтальной наводки гранатомёта. Он состоит из угломерного кольца с указателем, барабанчика угломера с указателем, отводки и поперечного уровня. Угломерное кольцо с помощью червячного колеса закреплено на оси корпуса и имеет шкалы, разделенную на 60 равных больших делений. Цена большого деления равна 100 делением угломера (1-00). Нумерация дана через каждые 5 делений.
Барабанчик угломера с помощью червячного винта соединение с червячным колесом и имеет шкалы, разделенную на сто равных делений. Нумерация дана через каждые 10 делений. Деления 0 и 100 совпадают. Цена каждого деления равна 1 делению (0-01). При одном полном обороте барабанчика (100 делений) шкала угломерного кольца меняет своё положение на одно большое деление.
Отводка служит для расцепления и сцепления червячного винта с червячным колесом.
Механизм углов возвышения служит для вертикальной наводки гранатомёта. Он состоит из шкалы больших делении прицела с указателем на оси прицела, барабанчика прицела с указателями продольного уровня.
Шкала больших делений прицела разделена на 14 равных делений, каждый из которых соответствует 100 делениям шкалы барабанчика прицела. Она имеет отражатель для улучшений освещения шкалы больших делений ночью.
Шкала барабанчика прицела разделена на 100 равных делений. Нумерация дана через каждые 10 делений. Деления 0 и 100 совпадают. Цена каждого деления равна 1 тысячной. При полном обороте барабанчика (100 делений) корпус прицела меняет своё положение на одно большое деление.
Продольный уровень служит для контроля и придания гранатомёту заданного угла возвышения при стрельбе с закрытой огневой позиции.
Головка прицела служит для визирования на цель (точку наводки) в ней собрана оптическая система. На головке имеется сзади — наглазник; слева — мушка и целик для прямой наводки для гранатомётов в случае повреждения оптической системы; сверху — основание для присоединения патрона подсветки сетки прицела; спереди на оправе — два винта для крепления светофильтра.
Оптическая система прицела состоит из объектива, призмы, сетки, окуляра и защитного стекла.
- Объектив предназначается для получения изображений наблюдаемого объекта.
- Призма является оборачивающей системой и служит для получения действительного прямого изображения.
- Сетка прицела представляет собой пластинку, на которой нанесены шкалы углов прицеливания и боковых поправок.
- Окуляр служит для увеличения рассматривания изображения наблюдаемого объекта и сетки.
- Защитное стекло предохраняет прицел от попадания внутрь пыли и грязи. Через него осуществляется подсветка сетки прицела.
Примечания
- ↑ Изделие ПАГ-17, Техническое описание и инструкция по эксплуатации
- ↑ npzoptics.ru. Прицел автоматического гранатомёта ПАГ-17 (рус.). Дата обращения: 2 ноября 2018. Архивировано 19 апреля 2012 года.
- ↑ Руководство по 30-мм автоматическому гранатомёту на станке (АГС-17). Военное издательство министерства обороны СССР. М.1982. Издание 2-е, стереотипное.
Ссылки
- Описание прицела ПАГ-17 на сайте hand-gun.narod.ru Архивная копия от 24 сентября 2014 на Wayback Machine
