Сцепная кулачковая муфта

Сцепная кулачковая муфта — разновидность кулачковой муфты, применяемая для быстрого соединения двух соосных валов и/или зубчатых колёс.[1] Соединение и разъединение полумуфт здесь осуществляется посредством управляемого осевого перемещения одной из полумуфт по своему валу до момента ввода или вывода кулачков в зацепление.[2]
По классификации — синхронная управляемая механическая муфта.[3] Определение «синхронная» подразумевает, что включение муфты возможно только при синхронности вращения обеих соединяемых полумуфт.[4] При этом, сцепные кулачковые муфты имеют ту особенность, что при некоторых профилях кулачков допускают возможность соединении в процессе вращения при приблизительной синхронизации угловых скоростей соединяемых элементов. Наиболее известное применение — вально-шестерёнчатые ступенчатые коробки передач мотоциклов и гоночных автомобилей, где муфтами данного типа посредством блокировки шестерён постоянного зацепления на валах и обеспечивается включение ступеней.
Конструкция
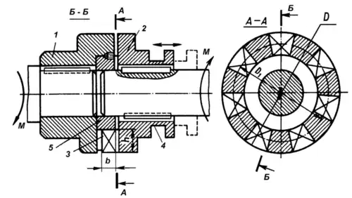
В простейшем случае муфта состоит из двух полумуфт (1) и (2) (См. рис.1), на торцах которых равномерно по кругу расположены кулачки (3). Одна полумуфта закрепляется на валу неподвижно, а другая, находящаяся на другом валу, может перемещаться вдоль этого вала. Подвижную полумуфту перемещают с помощью специального устройства — механизма управления муфтой (на рис.1 не показан). Вилку механизма управления размещают в кольцевом пазу (4) подвижной полумуфты. При введении в зацепление кулачков двух полумуфт осуществляется передача крутящего момента M от одного вала к другому (на рис. 1 муфта показана в сомкнутом состоянии). Кольцо (5) служит для центровки валов.
Распространены следующие формы профиля кулачков:
- прямоугольная — требует точного взаимного расположения полумуфт в момент включения;
- трапециевидная симметричная — не требует точного взаимного расположения полумуфт, поскольку боковые зазоры компенсируются изменением глубины посадки кулачков;
- трапециевидная несимметричная — обеспечивает нереверсивность работы муфты за счёт того, что угол наклона одной из боковых поверхностей профиля увеличен до такой степени, что самоторможение муфты устраняется; в результате при вращении ведущего вала в одном из направлений муфта будет проскальзывать и не будет передавать вращающий момент.
Включение кулачковой муфты при относительном вращении валов сопровождается ударами, которые могут вызывать разрушения кулачков. Поэтому такие муфты не рекомендуется использовать для включения механизма под нагрузкой и при больших скоростях относительного вращения (V ≥ 1 м/с).
Расчёт
Работоспособность кулачковых муфт определяется износом кулачков, зависящим от напряжений смятия на поверхностях соприкосновения. Эти напряжения рассчитывают приблизительно, исходя из допущения, что нагрузка распределяется равномерно между кулачками:
где: z — число кулачков полумуфты;
- K — динамический коэффициент нагрузки.
- σсм = 90...120 МПа — при включении без относительного вращения;
- σсм = 50...70 МПа — при включении на малых оборотах;
- σсм = 35...45 МПа — при включении на больших скоростях.
Для уменьшения изнашивания поверхность кулачков должна иметь высокую твёрдость, которая достигается поверхностной термообработкой или цементацией. Применение последней сохраняет вязкость сердцевины, которая повышает ударную вязкость кулачков. Муфты с цементацией кулачков изготовляют из сталей 15Х, 20Х, при поверхностной закалке — из сталей 40Х, 30ХН.
Борьба с вибрацией
В конструкциях некоторых муфт между кулачками расположен эластичный материал (рис. 2). Эластичный материал выполняет роль демпфера, и позволяет сглаживать вибрации и защищать детали от перегрузок и повреждений. Чем выше демпфирующие свойства такой муфты, тем меньшим пределом прочности при кручении она обладает.
См. также
Примечания
- ↑ Детали машин . — С. 358. § 25.5 «Сцепные муфты».
- ↑ ГОСТ 50371-92 . — С. 25. Типы механических муфт. Термин 92 «Сцепная кулачковая муфта».
- ↑ ГОСТ 50371-92 . — С. 3. Классы механических муфт. Термин 17 «Управляемая муфта».
- ↑ ГОСТ 50371-92 . — С. 3. Группы механических муфт. Термин 23 «Синхронная муфта».
Литература
- ГОСТ 50371-92. «Муфты механические; термины и определения». — Москва: ИПК Издательство стандартов, 1993. — 42 с.
- Н. Г. Куклин, Г. С. Куклина. «Детали машин». — 4-е переработанное и дополненное. — Москва: Высшая школа, 1987. — 382 с.
- Поляков В. С., Барбаш И. Д., Ряховский О. А. Справочник по муфтам. Л., «Машиностроение» (Ленингр. отд-ние), 1974, 352 с.