Suomi (пистолет-пулемёт)

Suomi KP/-31 / Suomi M/31
Пистолет-пулемёт Suomi с магазином на 70 патронов.
Пистолет-пулемёт Suomi с магазином на 70 патронов.
Тип пистолет-пулемёт
Страна  Финляндия
История службы
Годы эксплуатации 1931—1990-е
На вооружении Финляндия
Войны и конфликты Советско-финская война (1939—1940),
Советско-финская война (1941—1944),
Лапландская война
История производства
Конструктор Аймо Лахти
Разработан 1931 год
Производитель Tikkakoski
Всего выпущено 80 000
Характеристики
Масса, кг 4,6 кг
Длина, мм 870 мм
Длина ствола, мм 314 мм
Патрон 9 × 19 мм Парабеллум
Калибр, мм 9
Принципы работы свободный затвор
Скорострельность,
выстрелов/мин
750—900
Начальная скорость
пули
, м/с
396
Прицельная дальность, м 200 м
Вид боепитания коробчатый магазин на 20, 36, 50 патронов; барабанный на 40 или 70 патронов
Прицел нерегулируемый, открытый, на 100 м, с откидной стойкой на 200 м
Логотип Викисклада Медиафайлы на Викискладе

«Суо́ми» KP/-31 (фин. Suomi-konepistooli m/31, букв. пистолет-пулемёт «Суоми» образца 1931 года, сокр. Suomi KP/-31) — финский пистолет-пулемёт системы Аймо Лахти.

Находился на вооружении в Финляндии (с 1931 по 1990-е годы) и ряде других стран, применялся в Советско-финской войне, Второй мировой войне и Лапландской войне.

Разработка и применение

Аймо Йоханнес Лахти разрабатывал пистолеты-пулемёты (ПП) с 1921 года. 9-мм пистолет-пулемёт «Суоми» образца 1931 года (фин. malli 1931, сокр. m/31, дословно «модель 1931 года») под патрон 9 × 19 мм Parabellum был разработан в начале 1930-х годов на основе конструкции 7,65-мм пистолета-пулемёта KP/-26 (фин. Suomi-konepistooli m/26, где Suomi — самоназвание Финляндии), в небольших количествах выпускавшегося с 1926 года и использовавшего патрон 7,65 × 21 мм Parabellum.

В 1931 году его приняли на вооружение финской армии под названием Suomi-KP malli 1931. Общий объём производства, продолжавшегося до 1953 года — около 80 тысяч. Модификация «Суоми», адаптированная под патрон 9 × 20 мм SR Browning Long, с 1937 года состояла на вооружении шведской армии под индексом m/37[1].

Изначально «Суоми» рассматривался как оружие поддержки уровня отделения для боя на ближней дистанции, своего рода эрзац лёгкого ручного пулемёта, нехватку которых испытывала финская армия. Отсюда — ряд конструктивных особенностей оружия, таких, как сравнительно длинный, и притом быстросменный ствол (как на многих пулемётах с воздушным охлаждением), магазины большой ёмкости, наличие на некоторых моделях сошек и так далее. Хотя при этом тем же конструктором был создан и ручной пулемёт Lahti-Saloranta M/26, принятый на вооружение в 1926 г.

Однако, малая дальность эффективного ведения огня и сравнительно низкая поражающая способность пистолетных пуль не позволяли использовать ПП в качестве полноценного оружия поддержки пехотного отделения. В результате финнам пришлось уже в ходе боевых действий пересмотреть свою военную доктрину и дополнить вооружение пехотного отделения ручным пулемётом под винтовочно-пулемётные боеприпасы, роль которого играл сначала финский Lahti-Saloranta M/26, затем также трофейный, более удачный советский ДП, одновременно с увеличением количества ПП с 1 до 2—3 на отделение.

Тем не менее, в целом сам по себе «Суоми» оказался удачным образцом, хотя и не лишённым определённых, и довольно существенных, недостатков. Для обращения с «Суоми» требовалась высокая обученность личного состава, так как входящий в его состав вакуумный замедлитель затвора был очень чувствителен к загрязнениям, запылению и запотеванию оружия.

Пистолет-пулемёт поставлялся на экспорт. Производился по лицензии в Дании (m/41), Швеции (m/37) и Швейцарии (MP 43/44, 22 500 экземпляров). В СССР эффективность применения «Суоми» против советских войск заставила командование Красной Армии серьезно пересмотреть взгляды на пистолет-пулемет и срочно приступить к разработке своих образцов этого класса оружия пехоты[1].

Система

Устройство «Суоми» в целом было типично для ПП первого поколения, ведущих свою «родословную» от немецкого MP18 и других ранних образцов. В частности, конструкция затвора весьма напоминает немецкий Rheinmetall MP19, в свою очередь являющийся также предком австро-швейцарского ПП Steyr-Solothurn S1-100. Однако это оружие имело целый ряд весьма характерных особенностей, не встречавшихся на тот момент на ПП других систем.

Оружие было выполнено очень добротно, с высоким качеством и широким применением металлорежущих станков. Например, затворная коробка изготовлялась зацело из стальной поковки. Обратной стороной такого решения были очень большая масса (более 7 кг в снаряжённом состоянии) и высокая стоимость «Суоми», которая так и не позволила ему стать по-настоящему массовым образцом.

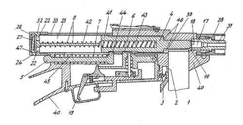
Пистолет-пулемёт состоит из цельной деревянной ложи, цельнофрезерованной ствольной коробки круглого сечения, ствола, съёмного кожуха, спускового механизма. Предохранитель в виде Г-образной детали, выполняющий также функции переводчика режима огня, расположен в передней части спусковой скобы.

Автоматика перезаряжания работает за счёт отката свободного затвора от отдачи при выстреле. Огонь ведётся с заднего шептала (с открытого затвора), ударник неподвижно закреплён в чашечке затвора, ствол в момент выстрела не запирается.

Для замедления темпа стрельбы используется система вакуумного торможения затвора: ствольная коробка, её крышка и затвор плотно подогнаны, так что затвор движется как поршень в цилиндре, прорыв воздуха между стенками ствольной коробки и затвором практически отсутствует. В затыльнике ствольной коробки установлен клапан, пропускающий воздух только изнутри наружу, но не наоборот. При движении затвора назад (после выстрела) воздух из задней части ствольной коробки выходит через клапан (при этом избыточное давление несколько замедляет откат затвора). При движении затвора вперёд клапан закрывается, за затвором создаётся разрежение, которое и замедляет затвор. За счёт этой системы удалось несколько снизить массу затвора, улучшив точность стрельбы, в особенности одиночными выстрелами.

Для обеспечения герметичности, а также исключения попадания внутрь ствольной коробки пыли и грязи через прорезь для взводной рукоятки затвора, последняя была расположена отдельно от него, сзади под затыльником ствольной коробки, и при стрельбе оставалась неподвижной. Для оружия с неподвижно закреплённым на зеркале затвора бойком, каковым являлся «Суоми», это давало ещё и то преимущество, что при недосыле патрона в патронник не тренированный или находящийся в стрессовой ситуации стрелок физически не имел возможности вручную дослать затвор вперёд ввиду отсутствия жёсткой связи между ним и взводной рукоятью; в оружии с более сложным ударным механизмом, вроде автоматической или обычной магазинной винтовки, это вполне нормальный способ устранения подобной задержки при стрельбе, но в случае пистолета-пулемёта с неподвижным бойком досылание затвора вперёд вручную привело бы к случайному выстрелу и неизбежной травме руки стрелка взводной рукоятью.

Ещё одна конструктивная особенность «Суоми» — кожух ствола и сам ствол легко снимаются и устанавливаются на место. Это позволяет при наличии запасных стволов вести активную стрельбу, не опасаясь перегрева и выхода ствола из строя — перегретый ствол всегда можно заменить прямо по ходу боя.

Прицел секторный, с регулировкой до 500 метров. Реальная дальность эффективного огня, как и у большинства пистолетов-пулемётов, не превышает и 200 м при стрельбе очередями.

Приёмник магазина имел необычную «открытую» конструкцию, что позволяло использовать широкие магазины большой ёмкости. Для «Суоми» было разработано несколько типов магазинов: коробчатый на 20 патронов, барабанный на 40 патронов, разработанный непосредственно Лахти, и барабанный магазин на 70 патронов конструкции Коскинена, принятый в 1936 году и весивший столько же, как и 40-зарядный. Также применялись разработанные в Швеции четырёхрядные коробчатые магазины на 50 патронов, более известный под прозвищем «гроб» из-за характерной формы. Гораздо позднее, уже в 1950-х годах, начали использоваться также коробчатые магазины на 36 патронов от шведского пистолета-пулемёта Carl Gustaf M/45, обратно совместимые с ранее состоявшим на вооружение Швеции «Суоми».

Солдатам категорически запрещалось удерживать ПП за магазин при стрельбе, во избежание расшатывания защелки и приемника. Однако этот запрет очень часто нарушался в бою.

Некоторые «Суоми» снабжались двуногой сошкой возле дульного среза. Кроме того, была выпущена небольшая (примерно 500 экземпляров) партия «Суоми» для вооружения бункеров и других укреплённых объектов, которая имела пистолетную рукоятку вместо приклада, укороченный кожух ствола и специальный упор вблизи его дульного среза для стрельбы из амбразуры.

Характеристика

«Суоми» — эффективное и надёжное по меркам своего класса оружие, хорошо показавшее себя при эксплуатации в тяжёлых условиях, в частности, зимой в Финляндии, при экстремально низких температурах. Быстросменный ствол также оказался весьма полезным новшеством (до «Суоми» заменяемые стволы делали только у пулемётов), — хотя и не получившим широкого распространения, но всё же использовавшимся впоследствии на ряде удачных образцов пистолетов-пулемётов, вроде Uzi.

Несмотря на небольшой объём производства, умелое применение финнами своих «Суоми» во время Советско-финской войны 1939—1940 г. произвело большое впечатление на рядовой и командный состав РККА, по сути дав толчок к расширению производства и массовому снабжению армии этим видом оружия. Следует, однако, иметь в виду, что планы по расширению производства ПП имелись в СССР ещё до Финской войны, которая, таким образом, сыграла роль «катализатора» этого процесса (более подробно эта тема изложена в статье про пистолет-пулемёт Дегтярёва).

Из недостатков можно отметить достаточно большую массу оружия: автомат[2] с одним полностью снаряжённым барабанным магазином весит около 7 кг. Ещё одним минусом «Суоми» была высокая стоимость и сложность изготовления. В частности, из-за механизма вакуумного замедления затвора сам затвор, ствольная коробка и крышка ствольной коробки требовали при изготовлении очень точной механической обработки, что приводило к дополнительным затратам и плохо сказывалось на надежности оружия.

Во времена Зимней войны имело место ограниченное применение РККА автоматов Фёдорова. По свидетельствам участников боёв, автоматы продемонстрировали неоспоримое преимущество над пистолетами-пулемётами финской армии. Любопытно, что стреляющее несравненно более мощным патроном оружие оказалось легче финского пистолета-пулемёта.

Использование барабанного магазина большой ёмкости, как показала практика, большей частью неоправданно. Барабанный магазин существенно сложнее и дороже в производстве, при этом он менее надёжен, чем простые коробчатые. Он весит больше, чем несколько коробчатых магазинов той же общей вместимости, и существенно утяжеляет оружие. Время на смену магазина не так велико, а дополнительный запас патронов солдату удобнее носить в подсумке, а не непосредственно на оружии. Показательно, что в СССР, выпустив по образцу «Суоми» барабанные магазины для позднего варианта ППД и ППШ, уже на второй год Великой Отечественной войны снова вернулись к коробчатым магазинам, хотя на подавляющем большинстве фото военной и послевоенной хроники запечатлены упомянутые пистолет-пулеметы с барабанными магазинами.

Производство

В период с 1940 по 1944 год компания Tikkakoski поставила финской армии следующее количество:

  • 1939: 1172;
  • 1940: 3600;
  • 1941: 11 475;
  • 1942: 13 067;
  • 1943: 15 933;
  • 1944: 11 600.

В общей сложности 56 847 единиц оружия были поставлены гражданской гвардии и финской полиции. Во время Зимней войны и Войны продолжение финны потеряли почти 15 тысяч «Суоми», из которых 5 тысяч были вновь приняты на вооружение в Красную армию.

Несмотря на боевые действия против СССР, многие «Суоми» были проданы или поставлены в нейтральные или союзные с Третьим Рейхом страны:

  • 5100 единиц оружия для Швейцарии;
  • 5500 для Болгарии;
  • 3000 для вермахта;
  • 1250 для Хорватии;
  • менее 1000 для Дании, Эстонии и Швеции.

Страны-эксплуатанты

  •  Финляндия[3][4] — принят на вооружение финской армии в 1931 году, оставался на вооружении финской армии до начала 1990-х годов.
  •  Болгария — закуплено 5505 шт. в 1940—1942 годах.
  •  Дания[4] — произведено более 1400 копий пистолета-пулемёта под названием M/41 на заводах Madsen и Hovea; официальное название — пистолет-пулемёт Леттета-Форсёгса.
  •  Польша[4] — в 1933 году 20 шт. закуплено для полиции[3].
  •  СССР — во время советско-финской войны трофейные «Суоми» передавали на вооружение разведывательных групп РККА, действовавших на «нейтральной полосе» и в ближнем тылу противника[5]. Также использовались в ходе Великой Отечественной войны.
  •  Швейцария[4] — закуплено 100 шт., производился по лицензии[3] под названием MP 43/44.
  •  Швеция[4] — закуплено 420 шт., производился по лицензии[3] (по лицензии под именем M/37 произведено 35 тысяч единиц; специально адаптирован под патрон 9 × 19 мм Parabellum)[6].
  • Хорватия Независимое Государство Хорватия — закуплено 500 шт.[3] (по другим данным 1250 шт.) в 1942—1943 годах.
  •  Эстония — в 1937 году закуплено 485 шт.[3]
  •  Нацистская Германия[4] — 3042 шт. Suomi финского производства поступили на вооружение подразделений вермахта и Waffen-SS[3] (основная часть использовалась в подразделениях, воевавших в Карелии и Лапландии, а также в 3-м финском батальоне полка «Нордланд» 5-й танковой дивизии СС «Викинг»). Кроме того, после оккупации Дании в 1940 году в распоряжении вермахта оказалось некоторое количество пистолетов-пулемётов Madsen-Suomi P2, выпущенных по лицензии в Дании (они использовались под наименованием MP.746(d))[7].

Кроме того, какое-то количество «Суоми» использовались в ходе гражданской войны в Испании 1936—1939 гг., однако источник их появления в Испании не установлен. После поражения республиканцев французские власти изъяли у интернированных республиканских войск около 300 единиц «Суоми»[4].

Галерея

См. также

Примечания

  1. 1 2 Сытин Л. Е. Все об огнестрельном оружии. — «Полигон», 2012. — С. 559. — 646 с. — ISBN 978-5-89173-565-1.
  2. До появления автоматов в современном значении этого слова, так в РККА именовали пистолеты-пулемёты, так что в таком контексте использование этого термина для обозначения ПП волне корректно.
  3. 1 2 3 4 5 6 7 М. Р. Попенкер, М. Милчев. Вторая Мировая: война оружейников. М., Яуза — ЭКСМО, 2009. стр.301
  4. 1 2 3 4 5 6 7 Suomi m/1931 // «War Machine», vol. 1, issue 6. 1983. page 103
  5. Богданов Н. Белое привидение. // журнал «Вокруг света», № 6, 1941. стр.17-19
  6. Kulsprutepistoler inom det svenska försvaret Архивная копия от 26 августа 2016 на Wayback Machine (швед.)
  7. 9-мм датский пистолет-пулемёт Madsen-Suomi P2 (Мадсен-Суоми П2) // журнал «Оружие», № 2, 2002 (спецвыпуск «Пехотное оружие Третьего рейха. Часть IV. Пистолеты-пулемёты»)

Литература

  • Pk «Suomi» materjalosa, käsitsemine, hooldamine ja laskeharjutused. Kaitseliidu peastaabi väljaanne Tallinn, 1939.

Ссылки