Генератор Хартли





Генера́тор Ха́ртли (индуктивная трёхточка) — электронный LC-генератор, в котором положительная обратная связь выполняется отводом от части витков катушки индуктивности параллельного LC-контура.
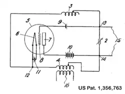
Был предложен Ральфом Хартли, который подал заявку на патент 1 июня 1915 года и получил патент № 1356763 от 26 октября 1920 года.
В зависимости от схемы усилительного каскада возможны три разновидности генератора Хартли: на каскаде с общим эмиттером (катодом, стоком), на каскаде с общим коллектором (анодом, истоком) и на каскаде с общей базой (сеткой, затвором).
Каскад с общим истоком в схеме генератора Хартли на полевом транзисторе фазу не сдвигает. В цепи затвора колебательный контур включен без перекоса фазы, а в цепи стока используется частичное включение контура, которое при отводе от середины катушки имеет перекос фазы 45°, петлевой сдвиг фазы при этом составляет 45° (запас устойчивости по фазе −135°÷+45°), но при таком включении контур сильно шунтируется, поэтому коэффициент включения контура в стоковой цепи уменьшают (на рисунке до 1/4 от всей катушки), при этом перекос фазы и петлевой сдвиг фазы увеличиваются (в пределе до 90°) при этом положительный запас устойчивости по фазе уменьшается (в пределе до 0°), генерация срывается, поэтому приходится искать некое компромиссное включение. Включение контура к стоковой цепи через катушку связи позволяет регулировать коэффициент включения контура без изменения перекоса по фазе и петлевого сдвига фазы, но это уже будет генератор Мейснера со сдвигом фазы в трансформаторе около 360° (встречное включение обмоток), при согласном включении обмоток трансформатора сдвиг фазы составляет около 180°, при котором генератор становится дискриминатором (подавителем, режекторным активным фильтром).
См. также
Ссылки
- Hartley oscillator, Integrated Publishing
- Рис. 8.1(а)Схема индуктивной трёхточки или схема Хартлея.
- Рис. 3.2.1-Генератор Хартли
- Рис.29-3.Генератор Хартли с параллельной обратной связью. Рис. 29-7.Генератор Хартли с параллельной обратной связью, включающей кварц.
- Лаб. раб. № 3 Рис. 1а. Схема индуктивной трёхточки или схема Хартли. Рис.1б. Схема ёмкостной трёхточки или схема Колпитца. Рис. 2.Генератор Колпитца.
- 8.2. LC-автогенераторы. Рис.8.3.б Схема транзисторного LC-генератора с автотрансформаторной связью.
- Circuits. Transistors. Oscillators. Hartley Oscillator.