Биполярный транзистор

Обозначение биполярных транзисторов на схемах по ГОСТ 2.730[1]. Направление стрелки показывает направление тока через эмиттерный переход в активном режиме и служит для указания n-p-n и p-n-p транзисторов. Окружности символизирует транзистор в индивидуальном корпусе, отсутствие — транзистор в составе микросхемы.

Биполя́рный транзи́стор — трёхэлектродный полупроводниковый прибор, один из типов транзисторов. В полупроводниковой структуре сформированы два p-n-перехода, перенос заряда через которые осуществляется носителями двух полярностей — электронами и дырками. Именно поэтому прибор получил название «биполярный» (от англ. bipolar), в отличие от полевого (униполярного) транзистора.

Применяется в электронных устройствах для усиления или генерации электрических колебаний, а также в качестве коммутирующего элемента (например, в схемах ТТЛ).

Устройство

Простейшая наглядная схема устройства транзистора
Упрощённая схема поперечного разреза планарного биполярного n-p-n транзистора.

Биполярный транзистор состоит из трёх полупроводниковых слоёв с чередующимся типом примесной проводимости: эмиттера (обозначается «Э», англ. E), базы («Б», англ. B) и коллектора («К», англ. C). В зависимости от порядка чередования слоёв различают n-p-n (эмиттер — n-полупроводник, база — p-полупроводник, коллектор — n-полупроводник) и p-n-p транзисторы. К каждому из слоёв подключены проводящие невыпрямляющие контакты[2].

Биполярный транзистор можно представить как цепь из диода и стабилитрона, расположенных разнонаправленно. Место их соединения является базой, свободный вывод диода — коллектором, а свободный вывод стабилитрона — эмиттером.

С точки зрения типов проводимостей эмиттерный и коллекторный слои не различимы, но при изготовлении они существенно различаются степенью легирования для улучшения электрических параметров прибора. Коллекторный слой легируется слабо, что повышает допустимое коллекторное напряжение. Эмиттерный слой — сильно легированный: величина пробойного обратного напряжения эмиттерного перехода не критична, так как обычно в электронных схемах транзисторы работают с прямосмещённым эмиттерным переходом. Кроме того, сильное легирование эмиттерного слоя обеспечивает лучшую инжекцию неосновных носителей в базовый слой, что увеличивает коэффициент передачи по току в схемах с общей базой. Слой базы легируется слабо, так как располагается между эмиттерным и коллекторным слоями и должен иметь большое электрическое сопротивление.

Общая площадь перехода база-эмиттер выполняется значительно меньше площади перехода коллектор-база, что увеличивает вероятность захвата неосновных носителей из базового слоя и улучшает коэффициент передачи. Так как в рабочем режиме переход коллектор-база обычно включён с обратным смещением, в нём выделяется основная доля тепла, рассеиваемого прибором, и повышение его площади способствует лучшему охлаждению кристалла. Поэтому на практике биполярный транзистор общего применения является несимметричным устройством (то есть инверсное включение, когда меняют местами эмиттер и коллектор, нецелесообразно).

Для повышения частотных параметров (быстродействия) толщину базового слоя делают меньше, так как этим, в том числе, определяется время «пролёта» (диффузии в бездрейфовых приборах) неосновных носителей. Но при снижении толщины базы снижается предельное коллекторное напряжение, поэтому толщину базового слоя выбирают исходя из разумного компромисса.

В первых транзисторах в качестве полупроводникового материала использовался металлический германий. Полупроводниковые приборы на его основе имеют ряд недостатков, и в настоящее время (2015 г.) биполярные транзисторы изготавливают в основном из монокристаллического кремния и монокристаллического арсенида галлия. Благодаря очень высокой подвижности носителей в арсениде галлия приборы на его основе обладают высоким быстродействием и используются в сверхбыстродействующих логических схемах и в схемах СВЧ-усилителей.

Принцип работы

В активном усилительном режиме работы транзистор включён так, что его эмиттерный переход смещён в прямом направлении[3] (открыт), а коллекторный переход смещён в обратном направлении (закрыт).

В транзисторе типа n-p-n[4] основные носители заряда в эмиттере (электроны) проходят через открытый переход эмиттер-база (инжектируются) в область базы. Часть этих электронов рекомбинирует с основными носителями заряда в базе (дырками). Однако из-за того, что базу делают очень тонкой и сравнительно слабо легированной, бо́льшая часть электронов, инжектированных из эмиттера, диффундирует в область коллектора, так как время рекомбинации относительно велико[5]. Сильное электрическое поле обратносмещённого коллекторного перехода захватывает неосновные носители из базы (электроны) и переносит их в коллекторный слой. Ток коллектора, таким образом, практически равен току эмиттера, за исключением небольшой потери на рекомбинацию в базе, которая и образует ток базы (Iэ=Iб + Iк).

Коэффициент α, связывающий ток эмиттера и ток коллектора (Iк = α Iэ), называется коэффициентом передачи тока эмиттера. Численное значение коэффициента α = 0,9—0,999. Чем больше коэффициент, тем эффективней транзистор передаёт ток. Этот коэффициент мало зависит от напряжения коллектор-база и база-эмиттер. Поэтому в широком диапазоне рабочих напряжений ток коллектора пропорционален току базы, коэффициент пропорциональности равен β = α/(1 − α), от 10 до 1000. Таким образом, малый ток базы управляет значительно бо́льшим током коллектора.

Режимы работы

Напряжения
на эмиттере,
базе,
коллекторе
()
Смещение
перехода
база-эмиттер
для типа n-p-n
Смещение
перехода
база-коллектор
для типа n-p-n
Режим
для типа n-p-n
прямоеобратноенормальный
активный режим
прямоепрямоережим насыщения
обратноеобратноережим отсечки
обратноепрямоеинверсный
активный режим
Напряжения
на эмиттере,
базе,
коллекторе
()
Смещение
перехода
база-эмиттер
для типа p-n-p
Смещение
перехода
база-коллектор
для типа p-n-p
Режим
для типа p-n-p
обратноепрямоеинверсный
активный режим
обратноеобратноережим отсечки
прямоепрямоережим насыщения
прямоеобратноенормальный
активный режим

Нормальный активный режим

Переход эмиттер-база включён в прямом направлении[3] (открыт), а переход коллектор-база — в обратном (закрыт):

UЭБ<0; UКБ>0 (для транзистора n-p-n типа), для транзистора p-n-p типа условие будет иметь вид UЭБ>0; UКБ<0.

Инверсный активный режим

Эмиттерный переход имеет обратное смещение, а коллекторный переход — прямое: UКБ<0; UЭБ>0 (для транзистора n-p-n типа).

Режим насыщения

Оба p-n перехода смещены в прямом направлении (оба открыты). Если эмиттерный и коллекторный р-n-переходы подключить к внешним источникам в прямом направлении, транзистор будет находиться в режиме насыщения. Диффузионное электрическое поле эмиттерного и коллекторного переходов будет частично ослабляться электрическим полем, создаваемым внешними источниками Uэб и Uкб. В результате уменьшится потенциальный барьер, ограничивавший диффузию основных носителей заряда, и начнётся проникновение (инжекция) дырок из эмиттера и коллектора в базу, то есть через эмиттер и коллектор транзистора потекут токи, называемые токами насыщения эмиттера (IЭ. нас) и коллектора (IК. нас).

Напряжение насыщения коллектор-эмиттер (UКЭ. нас) — это падение напряжения на открытом транзисторе (смысловой аналог RСИ. отк у полевых транзисторов). Аналогично напряжение насыщения база-эмиттер (UБЭ. нас) — это падение напряжения между базой и эмиттером на открытом транзисторе.

Режим отсечки

В данном режиме коллекторный p-n переход смещён в обратном направлении, а на эмиттерный переход может быть подано как обратное, так и прямое смещение, не превышающее порогового значения, при котором начинается эмиссия неосновных носителей заряда в область базы из эмиттера (для кремниевых транзисторов приблизительно 0,6—0,7 В).

Режим отсечки соответствует условию UЭБ<0,6—0,7 В, или IБ=0[6][7].

Барьерный режим

В данном режиме база транзистора по постоянному току соединена накоротко или через небольшой резистор с его коллектором, а в коллекторную или в эмиттерную цепь транзистора включается резистор, задающий ток через транзистор. В таком включении транзистор представляет собой своеобразный диод, включённый последовательно с токозадающим резистором. Подобные схемы каскадов отличаются малым количеством комплектующих, хорошей развязкой по высокой частоте, большим рабочим диапазоном температур, нечувствительностью к параметрам транзисторов.

Схемы включения

Любая схема включения транзистора характеризуется двумя основными показателями:

  • Коэффициент усиления по току Iвых/Iвх.
  • Входное сопротивление Rвх = Uвх/Iвх.

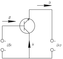
Схема включения с общей базой

Схема включения с общей базой.
  • Среди всех трёх конфигураций обладает наименьшим входным и наибольшим выходным сопротивлением. Имеет коэффициент усиления по току, близкий к единице, и большой коэффициент усиления по напряжению. Не инвертирует фазу сигнала.
  • Коэффициент усиления по току: Iвых/Iвх = Iк/Iэ = α [α<1].
  • Входное сопротивление Rвх = Uвх/Iвх = Uэб/Iэ.

Входное сопротивление (входной импеданс) усилительного каскада с общей базой мало зависит от тока эмиттера, при увеличении тока — снижается и не превышает единиц — сотен Ом для маломощных каскадов, так как входная цепь каскада при этом представляет собой открытый эмиттерный переход транзистора.

Достоинства:

  • Хорошие температурные и широкий частотный диапазон, так как в этой схеме подавлен эффект Миллера.
  • Высокое допустимое коллекторное напряжение.

Недостатки:

  • Малое усиление по току, равное α, так как α всегда немного менее 1
  • Малое входное сопротивление

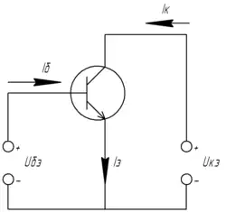
Схема включения с общим эмиттером

Схема включения с общим эмиттером.
Iвых = Iк
Iвх = Iб
Uвх = Uбэ
Uвых = Uкэ.
  • Коэффициент усиления по току: Iвых/Iвх = Iк/Iб = Iк/(Iэ-Iк) = α/(1-α) = β [β>>1].
  • Входное сопротивление: Rвх = Uвх/Iвх = Uбэ/Iб.

Достоинства:

  • Большой коэффициент усиления по току.
  • Большой коэффициент усиления по напряжению.
  • Наибольшее усиление мощности.
  • Можно обойтись одним источником питания.
  • Выходное переменное напряжение инвертируется относительно входного.

Недостатки:

  • Имеет меньшую температурную стабильность. Частотные свойства такого включения по сравнению со схемой с общей базой существенно хуже, что обусловлено эффектом Миллера.

Схема с общим коллектором

Схема включения с общим коллектором.
Iвых = Iэ
Iвх = Iб
Uвх = Uбк
Uвых = Uкэ.
  • Коэффициент усиления по току: Iвых/Iвх = Iэ/Iб = Iэ/(Iэ-Iк) = 1/(1-α) = β+1 [β>>1].
  • Входное сопротивление: Rвх = Uвх/Iвх = (Uбэ + Uкэ)/Iб.

Достоинства:

  • Большое входное сопротивление.
  • Малое выходное сопротивление.

Недостатки:

  • Коэффициент усиления по напряжению немного меньше 1.

Схему с таким включением часто называют «эмиттерным повторителем».

Основные параметры

  • Коэффициент передачи по току.
  • Входное сопротивление.
  • Выходная проводимость.
  • Обратный ток коллектор-эмиттер.
  • Время включения.
  • Предельная частота коэффициента передачи тока базы.
  • Обратный ток коллектора.
  • Максимально допустимый ток.
  • Граничная частота коэффициента передачи тока в схеме с общим эмиттером.

Параметры транзистора делятся на собственные (первичные) и вторичные. Собственные параметры характеризуют свойства транзистора, независимо от схемы его включения. В качестве основных собственных параметров принимают:

  • коэффициент усиления по току α;
  • сопротивления эмиттера, коллектора и базы переменному току rэ, rк, rб, которые представляют собой:
    • rэ — сумму сопротивлений эмиттерной области и эмиттерного перехода;
    • rк — сумму сопротивлений коллекторной области и коллекторного перехода;
    • rб — поперечное сопротивление базы.
Эквивалентная схема биполярного транзистора с использованием h-параметров.

Вторичные параметры различны для различных схем включения транзистора и, вследствие его нелинейности, справедливы только для низких частот и малых амплитуд сигналов. Для вторичных параметров предложено несколько систем параметров и соответствующих им эквивалентных схем. Основными считаются смешанные (гибридные) параметры, обозначаемые буквой «h».

Входное сопротивление — сопротивление транзистора входному переменному току при коротком замыкании на выходе. Изменение входного тока является результатом изменения входного напряжения, без влияния обратной связи от выходного напряжения.

h11 = Um1/Im1, при Um2 = 0.

Коэффициент обратной связи по напряжению показывает, какая доля выходного переменного напряжения передаётся на вход транзистора вследствие обратной связи в нём. Во входной цепи транзистора нет переменного тока, и изменение напряжения на входе происходит только в результате изменения выходного напряжения.

h12 = Um1/Um2, при Im1 = 0.

Коэффициент передачи тока (коэффициент усиления по току) показывает усиление переменного тока при нулевом сопротивлении нагрузки. Выходной ток зависит только от входного тока без влияния выходного напряжения.

h21 = Im2/Im1, при Um2 = 0.

Выходная проводимость — внутренняя проводимость для переменного тока между выходными зажимами. Выходной ток изменяется под влиянием выходного напряжения.

h22 = Im2/Um2, при Im1 = 0.

Зависимость между переменными токами и напряжениями транзистора выражается уравнениями:

Um1 = h11Im1 + h12Um2;
Im2 = h21Im1 + h22Um2.

В зависимости от схемы включения транзистора к цифровым индексам h-параметров добавляются буквы: «э» — для схемы ОЭ, «б» — для схемы ОБ, «к» — для схемы ОК.

Для схемы ОЭ: Im1 = I, Im2 = I, Um1 = Umб-э, Um2 = Umк-э. Например, для данной схемы:

h21э = I/I = β.

Для схемы ОБ: Im1 = I, Im2 = I, Um1 = Umэ-б, Um2 = Umк-б.

Собственные параметры транзистора связаны с h-параметрами, например для схемы ОЭ:

;

;

;

.

С повышением частоты заметное влияние на работу транзистора начинает оказывать ёмкость коллекторного перехода Cк. Его реактивное сопротивление уменьшается, шунтируя нагрузку и, следовательно, уменьшая коэффициенты усиления α и β. Сопротивление эмиттерного перехода Cэ также снижается, однако он шунтируется малым сопротивлением перехода rэ и в большинстве случаев может не учитываться. Кроме того, при повышении частоты происходит дополнительное снижение коэффициента β в результате отставания фазы тока коллектора от фазы тока эмиттера, которое вызвано инерционностью процесса перемещения носителей через базу от эммитерного перехода к коллекторному и инерционностью процессов накопления и рассасывания заряда в базе. Частоты, на которых происходит снижение коэффициентов α и β на 3 дБ, называются граничными частотами коэффициента передачи тока для схем ОБ и ОЭ соответственно.

В импульсном режиме ток коллектора изменяется с запаздыванием на время задержки τз относительно импульса входного тока, что вызвано конечным временем пробега носителей через базу. По мере накопления носителей в базе ток коллектора нарастает в течение длительности фронта τф. Временем включения транзистора называется τвкл = τз + τф.

Токи в транзисторе

Токи в биполярном транзисторе

Токи в биполярном транзисторе имеют две основных составляющих.

  • Ток основных носителей эмиттера IЭ, который частично проходит в коллектор, образуя ток основных носителей коллектора Iк осн, частично рекомбинирует с основными носителями базы, образуя рекомбинантный ток базы Iбр.
  • Ток неосновных носителей коллектора, который течёт через обратно смещённый коллекторный переход, образуя обратный ток коллектора Iкбо.

Биполярный СВЧ-транзистор

Биполярные СВЧ-транзисторы (БТ СВЧ) служат для усиления колебаний с частотой свыше 0,3 ГГЦ[8]. Верхняя граница частот БТ СВЧ с выходной мощностью более 1 Вт составляет около 10 ГГц. Большинство мощных БТ СВЧ по структуре относится к n-p-n типу[9]. По методу формирования переходов БТ СВЧ являются эпитаксиально-планарными. Все БТ СВЧ, кроме самых маломощных, имеют многоэмиттерную структуру (гребёнчатую, сетчатую)[10]. По мощности БТ СВЧ разделяются на маломощные (рассеиваемая мощность до 0,3 Вт), средней мощности (от 0,3 до 1,5 Вт) и мощные (свыше 1,5 Вт)[11]. Выпускается большое число узкоспециализированных типов БТ СВЧ[11].

Технологии изготовления транзисторов

Применение транзисторов

См. также

Примечания

  1. ГОСТ 2.730-73 Единая система конструкторской документации. Обозначения условные графические в схемах. Приборы полупроводниковые. Дата обращения: 4 ноября 2020. Архивировано 22 августа 2018 года.
  2. Невыпрямляющий, или омический контакт — контакт двух разнородных материалов, вольт-амперная характеристика которого симметрична при смене полярности и практически линейна.
  3. 1 2 Прямое смещение p-n-перехода означает, что область p-типа имеет положительный потенциал относительно области n-типа.
  4. Для случая p-n-p все рассуждения аналогичны с заменой слова «электроны» на «дырки» и наоборот, а также с заменой всех напряжений на противоположное по знаку.
  5. Лаврентьев Б. Ф. Схемотехника электронных средств. М.: Издательский центр «Академия», 2010. — С. 53—68. — 336 с. — ISBN 978-5-7695-5898-6.
  6. Лекция № 7 — Биполярный транзистор как активный четырёхполюсник, h-параметры. Дата обращения: 25 марта 2016. Архивировано 7 апреля 2016 года.
  7. Физические основы электроники: метод. указания к лабораторным работам / сост. В. К. Усольцев. — Владивосток: Изд-во ДВГТУ, 2007. — 50 с.:ил.
  8. Кулешов, 2008, с. 284.
  9. Кулешов, 2008, с. 285.
  10. Кулешов, 2008, с. 286.
  11. 1 2 Кулешов, 2008, с. 292.

Ссылки

Литература

  • Спиридонов Н.С. Основы теории транзисторов. — Киев: Техника, 1969. — 300 с.
  • Кулешов В.Н., Удалов Н.Н., Богачев В.М. и др. Генерирование колебаний и формирование радиосигналов. М.: МЭИ, 2008. — 416 с. — ISBN 978-5-383-00224-7.