Фтор

Фтор
 Кислород | Неон 
9 F

Cl
Периодическая система элементовБорТитанТанталУран
Периодическая система элементов
9F
Внешний вид простого вещества
Жидкий фтор
Свойства атома
Название, символ, номер Фтор/Fluorum (F), 9
Группа, период, блок 17 (устар. VIIA), 2,
p-элемент
Атомная масса
(молярная масса)
18,998403162(5)[1] а. е. м. (г/моль)
Электронная конфигурация [He] 2s22p5
1s22s22p5
Радиус атома 73 пм
Химические свойства
Ковалентный радиус 72 пм
Радиус иона (−1e)133 пм
Электроотрицательность 3,98 (шкала Полинга)
Электродный потенциал 2,87 В
Степени окисления −1, 0
Энергия ионизации
(первый электрон)
1680,0 (17,41) кДж/моль (эВ)
Термодинамические свойства простого вещества
Плотность (при н. у.) Газ: 1,6960 г/л
Жидкость: 1,516−188 г/см³,
Твердая фаза: 1,7−228 г/см³[2] или 1,810−225[3] г/см³
Температура плавления 53,53 К (−219,70 °C)[2]
Температура кипения 85,03 К (−188,12 °C)[2]
Тройная точка 53,48 К (−219,67°C), 90 кПа
Критическая точка 144,4 К, 5,215 МПа
Мол. теплота плавления (F—F) 0,5104 кДж/моль
Мол. теплота испарения (F—F) 6,544 кДж/моль
Молярная теплоёмкость 31,34[2] Дж/(K·моль)
Молярный объём 22,4⋅103 см³/моль
Давление насыщенного пара
P (Па)110100100010 000100 000
при T (К)384450586985
Кристаллическая решётка простого вещества
Структура решётки Моноклинная (α-фтор);
Кубическая (β-фтор)[3]
Параметры решётки α-фтор: β = 102,088(18)°; a = 5,4780(12) Å; b = 3,2701(7) Å; c = 7,2651(17) Å[3].
β-фтор: a = 5,5314(15)[3]
Прочие характеристики
Теплопроводность (300 K) 0,028 Вт/(м·К)
Номер CAS 7782-41-4
9
Фтор
18.998403162
1s² 2s² 2p⁵

Фтор (химический символ — F, от лат. Fluorum; устар. «флюор») — химический элемент 17-й группы (по устаревшей классификации — главной подгруппы седьмой группы, VIIA) второго периода периодической системы химических элементов Д. И. Менделеева, с атомным номером 9.

Является самым химически активным неметаллом и сильнейшим окислителем. Фтор относится к группе галогенов и является самым лёгким элементом из этой группы.

Как простое вещество (при нормальных условиях) фтор — это двухатомный газ (формула — F2) бледно-жёлтого (в толстых слоях — зеленовато-жёлтого) цвета с резким запахом, напоминающим озон или хлор. При криогенных температурах представляет собой жёлтую жидкость или бледно-жёлтые кристаллы.

Чрезвычайно токсичен. Обладает исключительно высокой коррозионной активностью.

История

Первое соединение фтора — флюорит (плавиковый шпат) CaF2 — описано в конце XV века под названием «флюор». В 1771 году Карл Шееле получил плавиковую кислоту. При обработке минерала флюорита CaF2 серной кислотой он выделил HF в виде водного раствора. Это событие рассматривается в истории химии как открытие фтора. Аналогию с хлором предложил в 1810 году Андре Ампер, его поддержал Гемфри Дэви. Дэви изучил растворения стекла в плавиковой кислоте.

Как химический элемент, входящий в состав плавиковой кислоты, фтор был предсказан в 1810 году, а выделен в свободном виде лишь 76 лет спустя Анри Муассаном в 1886 году электролизом жидкого безводного фтористого водорода, содержащего примесь кислого фторида калия KHF2.

Происхождение названия

Название «фтор» (от др.-греч. φθόριος — разрушительный), предложенное Андре Ампером в 1816 году[4], употребляется в русском, греческом и некоторых других языках. Во многих же других странах приняты названия, производные от старинных названий минерала флюорита CaF2, которые в свою очередь происходят от его способности понижать температуру плавления металлургического шлака, образующегося при восстановлении металлов из руд, и увеличивать его текучесть (лат. fluere — течь): например, тот же Ампер в письме Дэви от 6 августа 1812 предложил слово fluorine, благодаря адресату письма прочно вошедшее в английский язык.

Распространение в природе

Содержание фтора в атомных процентах в природе показано в таблице:

ОбъектСодержание, %
Почва0,02
Воды рек0,00002
Воды океана0,0001
Зубы человека[5]0,01

В природе значительные скопления фтора содержатся, в основном, в минерале флюорите (CaF2), содержащем по массе 51,3% Ca и 48,7 % F. Кларк в земной коре 650 г/т.

Из растений относительно богаты фтором чечевица и лук.

В почве фтор накапливается в результате вулканической деятельности, в составе вулканических газов обычно содержится большое количество фтороводорода.

Физические свойства

При нормальных условиях представляет собой бледно-жёлтый газ. В малых концентрациях в воздухе его запах напоминает одновременно озон и хлор. Очень агрессивен и сильно ядовит.

Фтор имеет аномально низкую температуру кипения (85,03 К, −188,12 °C) и плавления (53,53 К, −219,70 °C)[2]. Это связано с тем, что фтор не имеет d-подуровня и не способен образовывать полуторные связи, в отличие от остальных галогенов (кратность связи в остальных галогенах примерно 1,1)[6].

Ниже температуры плавления образует кристаллы бледно-жёлтого цвета[7][8].

Электронное строение

Электронная конфигурация внешнего электронного уровня атома фтора

Электронная конфигурация атома фтора: 1s22s22p5.

Атомы фтора в соединениях проявляют степень окисления, равную −1. Положительные степени окисления в соединениях неизвестны, так как фтор является самым электроотрицательным элементом.

Обозначение квантовохимического терма атома фтора — 2P3/2.

Строение молекулы

Применение метода МО для молекулы F2

С точки зрения теории молекулярных орбиталей, строение двухатомной молекулы фтора можно охарактеризовать следующей диаграммой. В молекуле присутствует 4 связывающих орбитали и 3 разрыхляющих. Порядок связи в молекуле равен 1.

Кристаллы

Кристаллическая структура α-фтора (стабильная при атмосферном давлении)

Фтор образует молекулярные кристаллы с двумя кристаллическими модификациями, стабильными при атмосферном давлении:

  • α-фтор, непрозрачный, твёрдый и хрупкий[8], существует при температуре ниже 45,6 K, кристаллическая решётка моноклинной сингонии, пространственная группа C 2/c, параметры ячейки a = 0,54780(12) нм, b = 0,32701(7) нм, c = 0,72651(17) нм, β = 102,088(18)°, Z = 4, d = 1,98 г/см3 с объёмом элементарной ячейки 0,12726(5) нм³ (при 10 К)[2][3][8][9];
  • β-фтор, прозрачный, менее плотный и твёрдый[8], существует в интервале температур от 45,6 К до точки плавления 53,53 K, кристаллическая решётка кубической сингонии (примитивная решётка), пространственная группа Pm3n, параметры ячейки a = 0,65314(15) нм, Z = 8, d = 1,81 г/см3 с объёмом элементарной ячейки 0,27862(11) нм³ (при 48 К), решётка изотипична γ-фазе O2 и δ-фазе N2[2][3]. В раннем (но единственном проведённом до 2019 года) эксперименте по изучению структуры β-фтора рентгенографическая плотность кристалла была оценена как 1,70(5) г/см³[7][10], и эта плотность твёрдого фтора цитируется в большинстве справочников. Более точное современное измерение даёт 1,8104(12) г/см³[3].

Фазовый переход между этими кристаллическими фазами фтора более экзотермичен, чем затвердевание жидкого фтора. Фаза ромбической сингонии у твёрдого фтора не обнаружена, в отличие от всех прочих галогенов. Молекулы α-фтора разупорядочены по направлению. Длина связи F—F в молекулах составляет 0,1404(12) нм[3].

Даже при столь низких температурах взаимодействие кристаллов фтора со многими веществами приводит к взрыву[8].

Изотопный состав

Фтор является моноизотопным элементом: в природе существует только один стабильный изотоп фтора 19F. Известны ещё 17 радиоактивных изотопов фтора с массовым числом от 14 до 31 и один ядерный изомер — 18mF. Самым долгоживущим из радиоактивных изотопов фтора является 18F с периодом полураспада 109,771 минуты, важный источник позитронов, использующийся в позитрон-эмиссионной томографии.

Ядерные свойства изотопов фтора

ИзотопОтносительная масса, а. е. м.Период полураспадаТип распадаЯдерный спинЯдерный магнитный момент
17F17,002095264,5 cβ+-распад в 17O5/24,722
18F18,0009381,83 часаβ+-распад в 18O1
19F18,99840322Стабилен1/22,629
20F19,999981311 cβ-распад в 20Ne22,094
21F20,9999494,2 cβ-распад в 21Ne5/2
22F22,003004,23 cβ-распад в 22Ne4
23F23,003572,2 cβ-распад в 23Ne5/2

Магнитные свойства ядер

Ядра изотопа 19F имеют полуцелый спин, поэтому возможно применение этих ядер для ЯМР-исследований молекул. Спектры ЯМР-19F являются достаточно характеристичными для фторорганических соединений.

Химические свойства

Самый активный неметалл, бурно взаимодействует почти со всеми веществами (кроме фторидов в высших степенях окисления и редких исключений — фторопластов) и с большинством из них — с горением и взрывом.

Образует соединения со всеми химическими элементами, кроме гелия и неона. Известно лишь два соединения с аргоном, существующих только при температуре ниже температуры кипения водорода (то есть около абсолютного нуля), и только одно из них содержит фтор — гидрофторид (фторид-гидрид) аргона HArF[11].

К воздействию фтора при комнатной температуре устойчивы некоторые металлы (в компактном виде) за счёт образования на их поверхности плотной плёнки фторида, тормозящей реакцию со фтором, например, Al, Mg, Cu, Fe, Ni; однако эти же металлы в виде мелкого порошка бурно реагируют даже с жидким фтором[12]. Контакт фтора с водородом приводит к воспламенению и взрыву в кварцевых сосудах даже при очень низких температурах (до −252  °C), в магниевых сосудах для начала реакции нужен небольшой нагрев.

Почти все простые вещества энергично реагируют со фтором; к исключениям относятся только гелий, неон, аргон, азот и кислород[13]. Криптон взаимодействует со фтором в электрическом разряде[13]. При комнатной температуре фтор не реагирует с сухим сульфатом калия, углекислым газом и закисью азота. Без примеси фтороводорода при комнатной температуре не действует на стекло. Не реагирует с тетрафторметаном и другими насыщенными фторуглеродами.

В атмосфере фтора горят даже вода, платина и ксенон[13].

Фтор способен вытеснять другие галогены из их солей:

,
.

Реакция между щелочами и фтором:

.

Продукты реакции фтора с водой, в зависимости от условий её протекания, могут различаться:

,

Высокая энергия связи H-F позволяет осуществляться реакциям гидридов со фтором, где образуется фтороводород (кроме вышеупомянутой воды, со фтором реагируют NH3, B2H6, SiH4, AlH3 и т. д.)[13].

К реакциям, в которых фтор формально является восстановителем, относятся реакции разложения высших фторидов, например:

,
.

Фтор также способен окислять в электрическом разряде кислород, образуя дифторид кислорода OF2 и диоксидифторид O2F2. Под давлением или при облучении ультрафиолетом реагирует с криптоном и ксеноном с образованием фторидов благородных газов.

Во всех соединениях фтор проявляет степень окисления −1. Чтобы фтор проявлял положительную степень окисления, требуется создание эксимерных молекул или иные экстремальные условия. Это требует искусственной ионизации атомов фтора[14]. Элементы в соединениях со фтором часто проявляют высшие степени окисления[13].

Получение

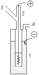
Лабораторный метод получения фтора

Промышленный способ получения фтора включает добычу и обогащение флюоритовых руд, сернокислотное разложение их концентрата с образованием безводного HF и его электролитическое разложение.

Для лабораторного получения фтора используют разложение некоторых соединений, но все они не встречаются в природе в достаточном количестве, и их получают с помощью свободного фтора.

Лабораторный метод

  • В лабораторных условиях фтор можно получать с помощью показанной установки. В медный сосуд 1, заполненный расплавом KF·3HF, помещают медный сосуд 2, имеющий отверстия в дне. В сосуд 2 помещают толстый никелевый анод. Катод помещается в сосуд 1. Таким образом, в процессе электролиза газообразный фтор выделяется из трубки 3, а водород — из трубки 4. Важным требованием является обеспечение герметичности системы, для этого используют пробки из фторида кальция со смазкой из оксида свинца(II) и глицерина.
  • В 1986 году, во время подготовки к конференции по поводу празднования 100-летия первого получения свободного фтора, Карл Кристе открыл[15][16] способ чисто химического получения фтора с использованием реакции во фтороводородном растворе K2MnF6 и SbF5 при 150 °C[12][17]:
Он основан на вытеснении слабой кислоты Льюиса [MnF4] из её соли K2MnF6 более сильной кислотой Льюиса SbF5. Образовавшийся тетрафторид марганца MnF4 термодинамически неустойчив и спонтанно разлагается до MnF3 с выделением элементарного фтора. Хотя этот метод не имеет практического применения, он демонстрирует, что электролиз необязателен; кроме того, все компоненты для данных реакций могут быть получены без использования газообразного фтора.
  • Также для лабораторного получения фтора можно использовать нагрев фторида кобальта(III) до 300 °C, разложение фторидов серебра и некоторые другие способы.

Промышленный метод

Промышленное производство фтора осуществляется электролизом расплава кислого фторида калия KF·2HF (часто с добавлениями фторида лития), который образуется при насыщении расплава KF фтористым водородом до содержания 40—41 % HF. Процесс электролиза проводят при температурах около 100 °C в стальных электролизёрах со стальным катодом и угольным анодом.

Хранение

Фтор хранят в газообразном состоянии (под давлением) и в жидком виде (при охлаждении жидким азотом) в аппаратах из никеля и сплавов на его основе (монель-металл), из меди, алюминия и его сплавов, латуни, нержавеющей стали (это возможно, потому что эти металлы и сплавы покрываются плёнкой фторидов, которая защищает от дальнейшей реакции со фтором[18]).

Применение

Фтор используется для получения:

Ракетная техника

Фтор и некоторые его соединения являются сильными окислителями, поэтому могут применяться в качестве окислителя в ракетных топливах. Очень высокая эффективность фтора вызывала значительный интерес к нему и его соединениям. На заре космической эры в СССР и других странах существовали программы исследования фторсодержащих видов ракетного топлива. Однако продукты горения с фторсодержащими окислителями токсичны. Поэтому топлива на основе фтора не получили распространения в современной ракетной технике.

Применение в медицине

Фторированные углеводороды (например перфтордекалин) применяются в медицине как кровезаменители. Существует множество медицинских препаратов, содержащих фтор в структуре (фторотан, фторурацил, флуоксетин, галоперидол и др.). Фториды натрия, калия и др. в строго дозированных микроколичествах применяются для профилактики кариеса (см. ниже).

Биологическая и физиологическая роль

Фтор является жизненно необходимым для организма элементом[19][20]. Основным источником поступления фтора в организм человека является питьевая вода[21]. В организме человека преобладающая концентрация фтора содержится в эмали зубов в составе фторапатита — Ca5F(PO4)3 — и в костях. Общее содержание составляет 2,6 г, в том числе в костях 2,5 г[2]. Нормальное суточное поступление фтора в организм человека равно 2,5—3,5 мг[2]. При недостаточном (менее 0,5 мг/литр питьевой воды) или избыточном (более 1 мг/литр) потреблении фтора организмом могут развиваться заболевания зубов: кариес, пародонтоз, флюороз (крапчатость эмали) и остеосаркома. Также избыточное потребление фтора может приводить к поражениям костной системы[22][23].

Малое содержание фтора разрушает эмаль за счёт вымывания фтора из фторапатита с образованием гидроксоапатита, и наоборот.

Для профилактики кариеса рекомендуется использовать зубные пасты с добавками фторидов (натрия и/или олова), употреблять фторированную воду (до концентрации 1 мг/л) или применять местные аппликации 1—2 % раствором фторида натрия или фторида олова. Такие действия могут сократить вероятность появления кариеса на 30—50 %[24].

Предельно допустимая концентрация связанного фтора (в виде фторидов и фторорганических соединений) в воздухе промышленных помещений равна 0,0005 мг/литр воздуха.

Токсикология

Фтор представляет собой чрезвычайно агрессивное химическое вещество. Сильно ядовит, является сильным окислителем. Раздражающие свойства в несколько раз сильнее, чем у фтороводорода. Фтор — «судорожный яд», как и значительное число его соединений. Обладает кумулятивным действием. В организм проникает главным образом ингаляционным и пероральным путями. Характерные проявления интоксикации при ингаляционном воздействии сводятся к болезненности и жжению в области носа, глотки, за грудиной, кровотечению из носа, сухому кашлю. Возможен спазм гортани и бронхиальной мускулатуры. При осмотре обнаруживаются гиперемия, отёчность и некрозы слизистых оболочек носоглотки, изъязвления и даже прободения носовой перегородки. Слизистые дыхательных путей также некротизируются и покрываются жёлтыми корочками.

При лёгких ингаляционных отравлениях фтором и его соединениями, как правило, ограничиваются развитием ринофаринголарингита и трахеобронхита на фоне общей слабости, утомляемости, лабильности пульса и АД. — отравление «маскируется» под «простуду», что затрудняет своевременную диагностику и лечение.

При поражениях фтором и его соединениями средней тяжести диагностируются глубокие бронхиты, и, с задержкой, пневмонии; а также судороги и гепатиты.

В случае тяжёлых отравлений развиваются поражение тканей и токсический отёк лёгких, коматозное состояние, судороги.

Резорбтивное действие объясняется возможностью фтора вступать в свободно-радикальные реакции с тканями организма — осаждение кальция из сыворотки крови и тканевой жидкости в форме фторида, приводящие к глубоким нарушениям в обмене веществ, замедлению свёртываемости крови, нарушению кислотно-основного соотношения крови, нарушению нервно-мышечной проводимости, увеличению проницаемости сосудистых стенок. Кроме того, фтор нарушает функционирование ряда ферментных систем, взаимодействуя с магнием, марганцем, железом, цинком, входящих, как и кальция, в состав энзимов, являясь их активаторами или ингибиторами. Отравления фтором нарушает активность ферментов, использующих микроэлементы в качестве кофакторов, например снижается активность Энолазы (нарушение гликолиза и синтеза макроэргов), аденозинтрифосфатазы, глутаминсинтетазы.

Ожоги глаз и кожных покровов наблюдаются при непосредственном контакте с фтором. Контакт кожи с газом в течение 2 секунд вызывает термический ожог II степени; воздействие в концентрации 0,15—0,30 мг/л приводит к раздражению открытых участков кожи. При обследовании 252 человек, подвергающихся воздействию фтора, у 57 обнаружены конъюнктивиты или экзема век[25].

Фтор депонируется в костях и медленно, в течение нескольких лет, выводится из организма почками и кишечником.

См. также

Соединения фтора

Литература

  • Рысс И. Г. Химия фтора и его неорганических соединений. М.: Госхимиздат, 1966 . — 718 с.
  • Некрасов Б. В. Основы общей химии. — 3-е изд. М.: Химия, 1973 . — Т. 1. — С. 656 с..
  • Военная токсикология, радиология и медицинская защита : Учебник. — Ленинград: ВМА им. С. М. Кирова, 1987 . — 356 с.

Примечания

  1. Prohaska T. et al. Standard atomic weights of the elements 2021 (IUPAC Technical Report) (англ.) // Pure and Applied Chemistry. — 2022. Vol. 94, iss. 5. P. 573—600. doi:10.1515/pac-2019-0603.
  2. 1 2 3 4 5 6 7 8 9 Раков Э. Г. Фтор // Химическая энциклопедия : в 5 т. / Гл. ред. Н. С. Зефиров. М.: Большая Российская энциклопедия, 1998.  Т. 5: Триптофан — Ятрохимия. — С. 197—199. — 783 с. 10 000 экз. — ISBN 5-85270-310-9.
  3. 1 2 3 4 5 6 7 8 Ivlev S. I. et al. The Crystal Structures of α‐ and β‐F2 Revisited (англ.) // Chemistry – A European Journal. — 2019. — Vol. 25. Iss. 13. — P. 3310—3317. doi:10.1002/chem.201805298.
  4. Annales de chimie et de physique | 1816 | Gallica
  5. Главным образом в эмали зубов.
  6. Ахметов Н. С. Общая и неорганическая химия.
  7. 1 2 Jordan T. H., Streib W. D., Smith H. W., Lipscomb W. N. Single-crystal studies of β-F2 and of γ-O2 (англ.) // Acta Crystallographica. — 1964. Vol. 17, no. 6. P. 777—778. ISSN 0365-110X. doi:10.1107/S0365110X6400202X.
  8. 1 2 3 4 5 Meyer L., Barrett C. S., Greer S. C. Crystal Structure of α‐Fluorine (англ.) // The Journal of Chemical Physics. — 1968. Vol. 49, no. 4. P. 1902—1907. ISSN 0021-9606. doi:10.1063/1.1670323.
  9. Pauling L., Keaveny I., Robinson A. B. The crystal structure of α-fluorine (англ.) // Journal of Solid State Chemistry. — 1970. Vol. 2, no. 2. P. 225—227. ISSN 0022-4596. doi:10.1016/0022-4596(70)90074-5.
  10. Jordan T. H., Streib W. E., Lipscomb W. N. Single‐Crystal X‐Ray Diffraction Study of β‐Fluorine (англ.) // The Journal of Chemical Physics. — 1964. Vol. 41, no. 3. P. 760—764. ISSN 0021-9606. doi:10.1063/1.1725957.
  11. Khriachtchev L. et al. A stable argon compound (англ.) // Nature. — 2000. Vol. 406, iss. 6798. P. 874–876. ISSN 1476-4687. doi:10.1038/35022551.
  12. 1 2 Greenwood N. N., Earnshaw A. Chemistry of the Elements (англ.). — 2nd Ed.. — Butterworth Heinemann, 1998. — P. 804—821. — 1341 p. — ISBN 978-0-7506-3365-9.
  13. 1 2 3 4 5 Карапетьянц М. Х., Дракин С. И. Общая и неорганическая химия. Учебник для вузов. — Изд. 4-е, стереотипное. М.: Химия, 2000. — С. 458. Архивировано 1 июля 2024 года.
  14. Энциклопедический словарь юного химика. Для среднего и старшего возраста. Москва, Педагогика-Пресс. 1999 год.
  15. Christe K. O. Chemical synthesis of elemental fluorine (англ.) // Inorganic Chemistry. — 1986. Vol. 25, no. 21. P. 3721—3722. ISSN 0020-1669. doi:10.1021/ic00241a001.
  16. Неуловимый разрушитель | Научно-популярный журнал «Химия и жизнь» 2012 №3. hij.ru. Дата обращения: 9 января 2025.
  17. Гринвуд Н., Эрншо А. Химия элементов. М.: БИНОМ. Лаборатория знаний, 2008. — Т. 2. — С. 147—148, 169 — химический синтез фтора.
  18. Фтор в Популярной библиотеке химических элементов. Дата обращения: 25 марта 2007. Архивировано 30 сентября 2007 года.
  19. Янин Е. П. Биогеохимическая роль и эколого-гигиеническое значение фтора // Проблемы окружающей среды и природных ресурсов. — 2009. № 4. С. 20—108.
  20. Osamu W. =What are Trace Elements? Their deficiency and excess states (англ.) // JMAJ. — 2004. Vol. 47, no. 8. Архивировано 29 марта 2017 года.
  21. Канатникова Н. В., Захарченко Г. Л. Физиологическая роль фтора и его содержание в питьевой воде Орловской области // Здоровье населения и среда обитания. — 2010. № 5(206). С. 40—43.
  22. По данным National Toxicology Program
  23. Синицына О. О. и др. Эссенциальные элементы и их нормирование в питьевой воде // Анализ риска здоровью. — 2020. № 3. С. 30—36.
  24. Справочник потребителя. Дата обращения: 29 апреля 2020. Архивировано 26 февраля 2021 года.
  25. Лазарев Н. В., Гадаскина И. Д. . Вредные вещества в промышленности. — Т. 3. — С. 19.

Ссылки